Изготовление форм в условиях мелносерийного и единочного производства
Модели отливок в формах должны быть расположены с учетом создания благоприятных условий затвердевания, рационального расположения обрабатываемых поверхностей и удобства формовки. Как правило, модели выполняют разъемными, причем разъемы следует назначать таким образом, чтобы формовщик имел возможность уплотнить асе части формы.
При изготовлении отливок по газифицируемым моделям в условиях единичного и мелкосерийного производства наиболее часто применяют следующие способы формовки:
- по неразъемной модели;
- по неразъемной модели с применением модельной плиты;
- по неразъемной модели с применением рамки;
- по разъемным моделям;
- по разъемным моделям с применением модельной плиты;
- по разъемным моделям с применением шаблонов;
- по комбинированным моделям.
К указанному надо добавить, что на практике могут применяться комбинации перечисленных способов.
Для формовки в условиях единичного и мелкосерийного производства применяют
существующий парк опок, используемый в настоящее время литейными
цехами.
Формовать газифицируемые модели, изготовленные из плит
пенололистирола, практически можно во все смеси, применяемые в литейных цехах
для изготовления чугунных отливок, кроме смеси на термореактивных связующих, для
твердения которых требуется нагрев формы.
Однако наиболее предпочтительными являются смеси, обладающие повышенной газопроницаемостью, что объясняется необходимостью отводить значительное количество газов и паров, образующихся при заливке формы вследствие разложения модели. Минимально допустимая газопроницаемость формовочных смесей должна составлять 100—120 ед.
Хорошие результаты получены при формовке газифицируемых моделей в холоднотвердеющие фурановые смеси. Обычно такие смеси используют как облицовочные и уплотняют их вручную.
После нанесения на модель облицовочного слоя в опоку подается наполнительная смесь, которая уплотняется пневматической трамбовкой.
В некоторых случаях с целью предотвращения деформации формовочной смеси во время заливки и искажения конфигурации отливок формы выкладывают кирпичом или в формовочную смесь закладывают металлические прутья или куски стального проката.
Во время формовки по газифицируемым моделям во избежание обвала формы кантовку полуформ в случае использования песчано-глинистых смесей можно производить только вместе с модельной плитой, а кантовку форм, изготовленных с применением химически твердеющих облицовочных смесей,— только после их отверждения.
Вентиляционные каналы в формах с газифицируемыми моделями делают вентиляционными иглами диаметром 5—8 мм с шагом 100—200 мм. Слой формовочной смеси между каналами и моделью составляет 30—50 мм.
Литниковую систему форм с газифицируемыми моделями выполняют, как правило, керамическими трубками, а также по моделям элементов литниковых систем из пенонолистирола, которые могут быть изготовлены как вырезкой из плит, так и вспениванием в пресс-формах по двухстадийной технологии из гранул.
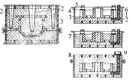
На рис. 11 представлена схема формовки по неразъемной модели в одной опоке. Обычно этим способом формуют несложные толстостенные модели без глубоких поднутрений. Сначала изготовляют постель 2, прокладывают литниковую систему, устанавливают керамический стояк 6, затем на постель помещают модель 3, а на нее - грузы 5 для предотвращения смещения модели при уплотнении формовочной смеси 7. При этом под грузы, во избежание повреждения модели, подкладывают листы фанеры 4 (подкладки). После этого модель обкладывают облицовочной смесью, которая уплотняется ручной трамбовкой или вручную обжатием, после пего в опоку засыпают наполнительную формовочную смесь, уплотняют ее пневматической трамбовкой, накалывают вентиляционные каналы и устанавливают литниковую чашу 9.

Рис. 11.
Схема формовки по неразъемной модели:
1 - нижняя опока: 2 -
постель; 3 - модель; 4 - подкладка; 5 – груз; 6 - керамический стояк; 7 -
формовочная смесь; 8 - верхняя опока; 9 — литниковая чаша.
Если модель обращена в форме кверху плоской поверхностью, а сама отливка
не имеет окон и достаточно толстостенная, то при формовке используют две опоки и
плоскую модельную плиту. Если же отливка тонкостенная, имеет
сложную конфигурацию и в ней имеются окна, то используют фасонную модельную
плиту. Модельная плита в этом случае служит опорой для модели, не дает ей
деформироваться в процессе формовки и закрывает окна, предотвращая попадание
формовочной смеси под модель.
Изготовление формы с применением фасонной модельной плиты показано на рис. 12.
Изготовление формы начинается с установки па модельную плиту 1 модели 2 и опоки 3, которую затем заполняют формовочной смесью 4 и уплотняют. После этого полуформу кантуют, извлекают модельную плиту, помещают на модель отливки модели выпоров, устанавливают верхнюю опоку 6 и завершают формовку.

Рис. 12. Схема формовки по неразъемной модели с применением фасонной модельной плиты: 1 — модельная плита; 2 — модель; 3 — нижняя опока; 4 — формовочная смесь; 5 — керамический стояк; 6 — верхняя опока; 7 — литниковая чаша.
Если к точности взаимного расположения ребер отливки не предъявляется жестких требований или ее стенки и ребра достаточно прочны, то может быть применена плоская модельная плита с подкладками из дерева или пепополистирола, которые помещают на плиту под моделью во время формовки и извлекают из формы перед изготовлением верхней опоки.
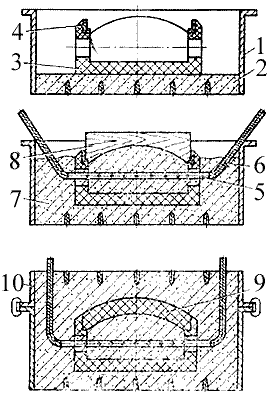
По модели сложной конфигурации модели сложной конфигурации (с тонкими ребрами на ее периферии) можно также формовать с применением деревянной рамки. В этом случае модель (рис. 13) устанавливают в рамке 4 на постель или модельную плиту и производят набивку формовочной смеси над моделью, после чего рамку снимают с модели и набивают остальную часть формы.
Формовку по моделям, имеющим глубокие поднутрения и полости и поэтому выполненных разъемными, можно осуществлять в одной или нескольких опоках. При изготовлении отливок по разъемной модели в одной опоке формовку производят по схеме, сходной с формовкой неразъемной модели в одной опоке с той лишь разницей, что в процессе формовки на модель и формовочную смесь устанавливают отъемные части. Наличие отъемных частей в этом случае позволяет облегчить уплотнение формовочной смеси в поднутрениях.

Рис. 13. Схема формовки с применением рамки:
1 —
модельная плита; 2, 5 — опоки; 3 — модель; 4
— рамка; 6 —смесь.
Формовку по тонкостенным моделям, имеющим плоскую поверхность разъема, осуществляют а двух опоках с применением модельной плиты (рис. 14). Для этого нижнюю опоку помещают на модельную плиту 1, на которую предварительно устанавливают нижнюю часть модели 2, а затем производят формовку нижней полуформы по описанным выше схемам. Изготовление верхней полуформы начинается с установки верхней части модели 5 на нижнюю и фиксирования их относительно друг друга шпильками пли с помощью фиксаторов, а далее формовку ведут аналогично другим схемам.

Рис. 14.
Схема формовки по разъемной модели с применением модельной
ленты:
1 — модельная плита: 2 — нижний часть модели; 3, 6 —опоки; 4 —
формовочная смесь; 5— верхняя часть модели; 7 — стояк; 8 — литниковая чаша.
Способ формовки по разъемной модели с применением протяжных шаблонов и шаблонов вращения используют при необходимости получить отливку коробчатой формы с верхней стенкой, имеющей вид свода. На рис. 15 показана последовательность формовки с помощью протяжного шаблона.

Рис. 15. Схема формовки по разъемной модели с примененном шаблона; 1, 10 —опоки; 2 — постель; 3 — нижняя часть модели; 4— направляющая; 5 — перфорированная трубка; 6 - газоотводный канал; 7 — формовочная смесь; 8 —шаблон; 9 — отъемная часть модели
В данном случае после изготовления постели 2 на нее помещают нижнюю часть модели 3 и производят формовку. При достижении смесью уровня отъемной части на модель устанавливают и фиксируют с помощью шпилек направляющие 4 протяжного шаблона , а затем продолжают формовку, снимая излишек формовочной смеси с помощью шаблона 8, перемещаемого вдоль направляющих. Получив таким образом требуемую поверхность, с модели снимают направляющие шаблона и устанавливают отъемную часть модели, после чего завершают формовку.
Формовку по комбинированной модели применяют в серийном производстве
отливок сложной конфигурации. Схема формовки с применением комбинированной
модели отливки, имеющей винтообразное ребро по наружной поверхности, показана на
рис. 16. В данном случае на модельную плиту 1 устанавливают
деревянный остов модели 2, опоку 4 и отъемную часть из пенополистирола 3, а
затем производят уплотнение нижней полуформы. После окончания уплотнения
полуформу кантуют, извлекают из нее деревянный остов модели, устанавливают
стержень 7 и накрывают верхней опокой 8.
Таким образом, отъемная часть
остается в форме и газифицируется при заливке.

Рис. 16. Схема
формовки комбинированной модели:
1— модельная плита; 2 — деревянный остов
модели; 3 — отъемная часть из пенополистирола; 4, 8 — опоки; 5 — формовочная
смесь; 6 — крышка из пенополистирола; 7 — стержень.
